Przedluzka do uchwytow termokurczliwych, z regulacja dlugosci, h6 160x25x12mm HAIMER

597,50 zł
Wysyłka z magazynu: ⁨B6⁩
Przewidywana wysyłka: Tue, Feb 17 - Fri, Feb 20
14 dni na zwrotBez podawania przyczyny
Dostępność:
duża ilość
Producent:
HAIMER
Kod produktu:
78.250.12 / 4034221024312

Specyfikacja

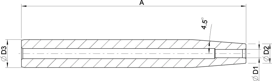
A:160 mm
Alpha:4,5 °
Chłodzenie radiatorem o średnicy:6–8 mm
Dodatkowy adapter chłodzący (rozmiar):
Średnica d1:12 mm
Średnica d2:20 mm
Średnica d3:25 mm

Precyzyjna przedłużka do uchwytów termokurczliwych

Wykonanie: minimalne bicie promieniowe, możliwość optymalnego i praktycznie nieograniczonego przedłużania. Do uniwersalnego zastosowania, wielokrotnego użytku. Tolerancja chwytu h6.
Zastosowanie: do chwytów z węglików spiekanych i HSS.
Uwaga: tłumiące drgania przedłużki do uchwytów termokurczliwych z rdzeniem z metalu ciężkiego są dostępne na zapytanie.

Uwaga: ze śrubą do regulacji długości (odcinek regulacji 10 mm). Uwaga: ze śrubą do regulacji długości (odcinek regulacji 10 mm).

Mimo dołożenia wszelkich starań nie gwarantujemy, że publikowane dane techniczne i zdjęcia nie zawierają uchybień lub błędów, które nie mogą jednak być podstawą do roszczeń.

Strona główna