Kiel centrujacy obrotowy,wklad z weglik.spiek, wlk.104 MK 3 Röhm

2518,13 zł
Wysyłka z magazynu: ⁨B6⁩
Przewidywana wysyłka: Thu, Apr 9 - Mon, Apr 13
14 dni na zwrotBez podawania przyczyny
Dostępność:
średnia ilość
Producent:
Röhm
Kod produktu:
90089 / 4019208021676

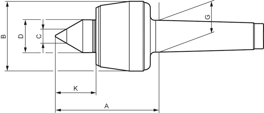
Specyfikacja

Maks. prędkość obrotowa:6300 min-1
Maks. tolerancja bicia promieniowego:0,005 mm
Maks. waga przedmiotu obrabianego:240 kg
Mocowanie:3 Sto?ek Morse'a
Rozmiar:104
Wymiar a:70,5 mm
Wymiar b:48,5 mm
Wymiar c:11 mm
Wymiar d:22 mm
Wymiar g:23,825 mm
Wymiar k:27 mm

Kieł centrujący obrotowy – PRO HM

Wykonanie: korpus hartowany i szlifowany, z kątem wierzchołkowym 60°. Wierzchołek z odpornym na zużycie ścierne wkładem z węglików spiekanych. Potrójne łożysko dla dużych obciążeń osiowych i promieniowych. Stały smar wystarczający na cały okres eksploatacji.

Mimo dołożenia wszelkich starań nie gwarantujemy, że publikowane dane techniczne i zdjęcia nie zawierają uchybień lub błędów, które nie mogą jednak być podstawą do roszczeń.

Strona główna